Oggi è venerdì 20 febbraio 2026, 9:33

Tutti gli orari sono UTC + 1 ora [ ora legale ]




Apri un nuovo argomento Rispondi all’argomento  [ 10 messaggi ] 
Autore Messaggio
 Oggetto del messaggio: Motore sottoplancia roco 10030
MessaggioInviato: giovedì 8 febbraio 2024, 15:27 
Non connesso

Nome: Calogero Contrino
Iscritto il: lunedì 8 gennaio 2024, 19:22
Messaggi: 9
Sto costruendo il mio primo plastico (scala N) che sarà gestito da una centrale z21 nera Roco. Per l'armamento sto usando binari fleischmann , i deviatoi sono del tipo 22300 e 2301 con cuore non polarizzato e li dovrei pilotare con motori sottoplancia 10030 Roco tramite switch decoder 10836 Roco . Qualcuno che ha già usato questo motore mi saprebbe indicare come cablare il tutto ? Il manuale in dotazione con il motore è molto carente per un neofita. In allegato la foto dell'unico schema presente nel manuale senza nessuna spiegazione( si riferische all'uso con uno switch analogico). Grazie a chi mi vorrà rispondere.


Allegati:
schema cablaggio motore 10030.png
schema cablaggio motore 10030.png [ 153.06 KiB | Osservato 3104 volte ]
Top
 Profilo  
 
 Oggetto del messaggio: Re: Motore sottoplancia roco 10030
MessaggioInviato: giovedì 8 febbraio 2024, 22:01 
Non connesso

Nome: Calogero Contrino
Iscritto il: lunedì 8 gennaio 2024, 19:22
Messaggi: 9
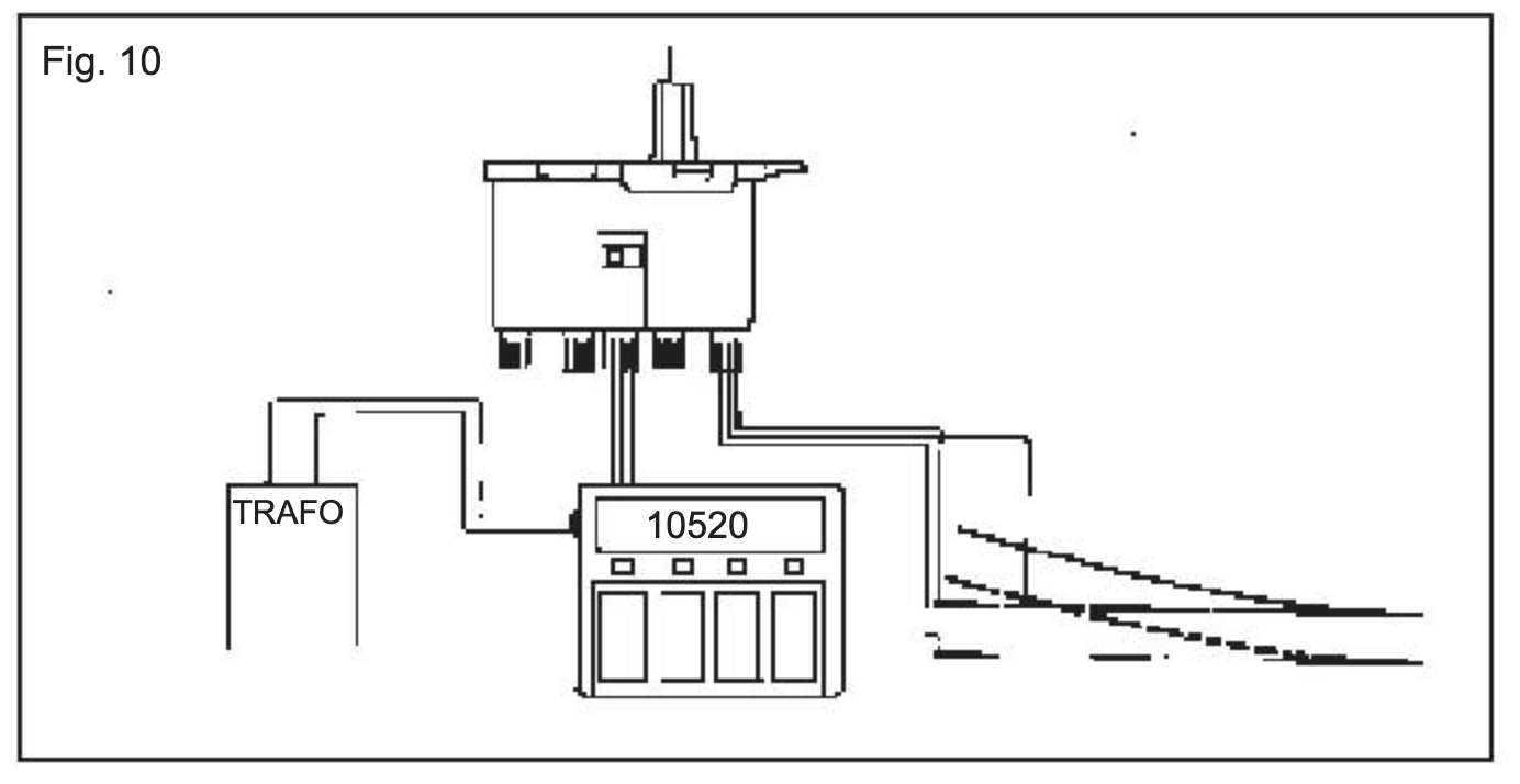
Vorrei aggiungere che nello schema di cui sopra il motore è comandato da uno switch manuale roco 10520 ,alimentato da un trasformatore di cui non si conoscono i dati e risulta chiaro quali sono il connettore di ingresso( quello centrale)del motore e il connettore utilizzato per la connessione allo scambio( che non si comprende di che tipo sia) ma il motore in tutto presenta 5 connettori a tre fili e degli altri tre rimanenti non comprendo la funzione .Mi chiedo potrebbero essere altre uscite per altri tre accessori di segnalazione da azionare in contemporanea?


Ultima modifica di Kal54 il giovedì 8 febbraio 2024, 23:01, modificato 1 volta in totale.

Top
 Profilo  
 
 Oggetto del messaggio: Re: Motore sottoplancia roco 10030
MessaggioInviato: giovedì 8 febbraio 2024, 22:54 
Non connesso

Iscritto il: giovedì 24 gennaio 2008, 12:17
Messaggi: 938
Trasformatore normalissimo per scambi e accessori
Gli altri morsetti servono per polarizzare il cuore e probabilmente per i segnali.
Al.posto del 10520, la tastierino.per muovere gli scambi, puoi usare dei semplici interruttori.
I motori hanno il fine corsa e non bruci nulla.
Buon lavoro!


Top
 Profilo  
 
 Oggetto del messaggio: Re: Motore sottoplancia roco 10030
MessaggioInviato: giovedì 8 febbraio 2024, 23:07 
Non connesso

Nome: Calogero Contrino
Iscritto il: lunedì 8 gennaio 2024, 19:22
Messaggi: 9
renato626 ha scritto:
Trasformatore normalissimo per scambi e accessori
Gli altri morsetti servono per polarizzare il cuore e probabilmente per i segnali.
Al.posto del 10520, la tastierino.per muovere gli scambi, puoi usare dei semplici interruttori.
I motori hanno il fine corsa e non bruci nulla.
Buon lavoro!

Grazie mille Renato.
Ho il problema che dovrei comandarlo con lo switch decoder 10836( da collegare alla z21) , è possibile connettere il motore direttamente ad una delle 8 uscite del decoder?


Ultima modifica di Kal54 il giovedì 8 febbraio 2024, 23:19, modificato 1 volta in totale.

Top
 Profilo  
 
 Oggetto del messaggio: Re: Motore sottoplancia roco 10030
MessaggioInviato: giovedì 8 febbraio 2024, 23:13 
Non connesso

Iscritto il: giovedì 24 gennaio 2008, 12:17
Messaggi: 938
Non conosco l articolo ma direi proprio di sì.
Lo switch va collegato al trasformatore e dà corrente agli scambi.
Comunque attendi per conferma gli esperti del digitale che potranno darti un parere più preciso del mio.


Inviato dal mio SM-S926B utilizzando Tapatalk


Top
 Profilo  
 
 Oggetto del messaggio: Re: Motore sottoplancia roco 10030
MessaggioInviato: giovedì 8 febbraio 2024, 23:20 
Non connesso

Nome: Calogero Contrino
Iscritto il: lunedì 8 gennaio 2024, 19:22
Messaggi: 9
renato626 ha scritto:
Non conosco l articolo ma direi proprio di sì.
Lo switch va collegato al trasformatore e dà corrente agli scambi.
Comunque attendi per conferma gli esperti del digitale che potranno darti un parere più preciso del mio.


Inviato dal mio SM-S926B utilizzando Tapatalk

Grazie ancora.


Top
 Profilo  
 
 Oggetto del messaggio: Re: Motore sottoplancia roco 10030
MessaggioInviato: venerdì 9 febbraio 2024, 9:38 
Non connesso

Iscritto il: sabato 15 settembre 2007, 8:54
Messaggi: 1623
Località: Roma
Allegato:
IMG_8377.jpeg
IMG_8377.jpeg [ 255.53 KiB | Osservato 2950 volte ]


Ciao, Il motore da te indicato lo sto usando sotto tutti gli scambi del mio plastico, puoi vedere foto cercando Binari a tutti i costi nella sezione plastico.

Come da foto allegata io li ho collegati agli SwitchPilot 3 di Esu! La cosa è semplicissima. Il motore ha 5 innesti ogni uno da 3 poli. Il centrale dei 5 innesti è l’alimentazione del motore. Nel mio caso direttamente collegato ad una delle uscite del decoder! Per i collegamenti ho utilizzato il cavo 3 poli di Roco, ne avevo tanto, ma puoi utilizzare un qualunque cavo 3 poli, l’importante è rispettare le polarità. Quello che metterai sul centrale dei 3 poli deve essere messo centrale anche alla spinetta del decoder. SEMPRE. Gli altri 2 semplicemente, possono essere inseriti come preferisci anche invertiti, al massimo lo scambio lavorerà al contrario rispetto all’icona della centrale.
Come potrai vedere dalla fotografia, il nero è sempre centrale, mentre il rosso il verde si alternano a destra o sinistra a sinistra, a seconda della posizione che l’ago deve assumere!
Questi i collegamenti di alimentazione.

Torniamo al motore. Abbiamo parlato dei 3 poli dell’innesto centrale. Vediamo gli altri 4, 2 a destra e 2 a sinistra. Servono per polarizzare i cuori degli scambi , i semafori o qualunque altra cosa che abbia bisogno di passare la polarità da una parte all’altra!
Come funzionano? La bobina interna muove un meccanismo interno che sposta i contatti da una lamella all’altra. Questo è ciò che succede fisicamente all’interno del motore.
Come si usano? Semplice, come l’innesto di alimentazione del motore. Il centrale deve rimanere il centrale o comune, mentre gli altri 2 vanno posizionati nella maniera più opportuna, al massimo le cose lavoreranno al contrario!
Spero che la spiegazione sia abbastanza chiara!


Top
 Profilo  
 
 Oggetto del messaggio: Re: Motore sottoplancia roco 10030
MessaggioInviato: venerdì 9 febbraio 2024, 13:41 
Non connesso

Nome: Calogero Contrino
Iscritto il: lunedì 8 gennaio 2024, 19:22
Messaggi: 9
estevan0000 ha scritto:
Allegato:
L’allegato IMG_8377.jpeg non è disponibile


Ciao, Il motore da te indicato lo sto usando sotto tutti gli scambi del mio plastico, puoi vedere foto cercando Binari a tutti i costi nella sezione plastico.

Come da foto allegata io li ho collegati agli SwitchPilot 3 di Esu! La cosa è semplicissima. Il motore ha 5 innesti ogni uno da 3 poli. Il centrale dei 5 innesti è l’alimentazione del motore. Nel mio caso direttamente collegato ad una delle uscite del decoder! Per i collegamenti ho utilizzato il cavo 3 poli di Roco, ne avevo tanto, ma puoi utilizzare un qualunque cavo 3 poli, l’importante è rispettare le polarità. Quello che metterai sul centrale dei 3 poli deve essere messo centrale anche alla spinetta del decoder. SEMPRE. Gli altri 2 semplicemente, possono essere inseriti come preferisci anche invertiti, al massimo lo scambio lavorerà al contrario rispetto all’icona della centrale.
Come potrai vedere dalla fotografia, il nero è sempre centrale, mentre il rosso il verde si alternano a destra o sinistra a sinistra, a seconda della posizione che l’ago deve assumere!
Questi i collegamenti di alimentazione.

Torniamo al motore. Abbiamo parlato dei 3 poli dell’innesto centrale. Vediamo gli altri 4, 2 a destra e 2 a sinistra. Servono per polarizzare i cuori degli scambi , i semafori o qualunque altra cosa che abbia bisogno di passare la polarità da una parte all’altra!
Come funzionano? La bobina interna muove un meccanismo interno che sposta i contatti da una lamella all’altra. Questo è ciò che succede fisicamente all’interno del motore.
Come si usano? Semplice, come l’innesto di alimentazione del motore. Il centrale deve rimanere il centrale o comune, mentre gli altri 2 vanno posizionati nella maniera più opportuna, al massimo le cose lavoreranno al contrario!
Spero che la spiegazione sia abbastanza chiara!

Grazie tante i cavi roco li avevo già comprati unitamente ai connettori in previsione . I motori dovranno azionare scambi fleischmann 22301 e 22303 (scala N) mi sembrano con cuore non polarizzato (in plastica) però lungo la deviata in prossimità del cuore, come vedi dalla foto, c'è un occhiello che mi dice che comunque dovrei effettuare un qualche collegamento.Che ne pensi? Andrò a guardare subito le foto nella sezione che mi hai segnalato.


Allegati:
fleischmann 22301.png
fleischmann 22301.png [ 295.04 KiB | Osservato 2889 volte ]
Top
 Profilo  
 
 Oggetto del messaggio: Re: Motore sottoplancia roco 10030
MessaggioInviato: venerdì 9 febbraio 2024, 18:21 
Non connesso

Iscritto il: sabato 15 settembre 2007, 8:54
Messaggi: 1623
Località: Roma
Ciao, non conosco gli scambi che hai indicato.
Se dici che il cuore non è polarizzabile, non so a cosa possa servire l’occhiello da te indicato.
Se viceversa lo scambio è polarizzabile e l’occhiello fosse il contatto per il filo centrale ipotizziamo quello nero come comune, vengono comunque a mancare gli altri due fili, altrimenti il sistema non funziona!


Top
 Profilo  
 
 Oggetto del messaggio: Re: Motore sottoplancia roco 10030
MessaggioInviato: venerdì 9 febbraio 2024, 19:22 
Non connesso

Nome: Calogero Contrino
Iscritto il: lunedì 8 gennaio 2024, 19:22
Messaggi: 9
estevan0000 ha scritto:
Ciao, non conosco gli scambi che hai indicato.
Se dici che il cuore non è polarizzabile, non so a cosa possa servire l’occhiello da te indicato.
Se viceversa lo scambio è polarizzabile e l’occhiello fosse il contatto per il filo centrale ipotizziamo quello nero come comune, vengono comunque a mancare gli altri due fili, altrimenti il sistema non funziona!

Sono andato all'argomento che mi hai indicato ed ho dato una spulciata veloce(una mezzoretta) : interessantissimo, ci potresti fare una pubblicazione, complimenti. Nei prossimi giorni mi ci soffermerò con calma. Per quanto riguarda il mio scambio nei prossimi giorni posterò una foto più chiara dal vero, quella di oggi era tratta del sito del venditore. Cordiali saluti.


Top
 Profilo  
 
Visualizza ultimi messaggi:  Ordina per  
Apri un nuovo argomento Rispondi all’argomento  [ 10 messaggi ] 

Tutti gli orari sono UTC + 1 ora [ ora legale ]


Chi c’è in linea

Visitano il forum: Baidu [Spider] e 15 ospiti


Non puoi aprire nuovi argomenti
Non puoi rispondere negli argomenti
Non puoi modificare i tuoi messaggi
Non puoi cancellare i tuoi messaggi
Non puoi inviare allegati

Cerca per:
Vai a:  
banner_piko

Duegi Editrice - Via Stazione 10, 35031 Abano Terme (PD). Italy - Tel. 049.711.363 - Fax 049.862.60.77 - duegi@duegieditrice.it - shop@duegieditrice.it
Direttore editoriale: Luigi Cantamessa - Amministratore unico: Federico Mogioni - Direttore responsabile: Pietro Fattori.
Registro Operatori della Comunicazione n° 37957. Partita iva IT 05448560283 Tutti i diritti riservati Duegi Editrice Srl